
电源电压:三相380V/50Hz(≤2.2可单相)
流量范围:2.5-252m3/h
扬程范围:12-136m
功率范围:0.46-110Kw
主要材质:过流部件标配全铸铁
典型用途:广泛用于建筑供水、冷却冷冻水循环、消防加压、工业生产供水等用途。
产品概述
产品执行标准:JB/T 6878
GL型立式单级泵是国内广泛使用的离心泵,是广一泵业研发的新一代高扬程单级管道泵。具备单级泵的结构简单,同时具备了多级泵的高扬程。GL泵在性能、结构、外观、可靠性方面作了较大改进,目的是方便用户使用,提高使用寿命。

注意采用了全新铭牌,公司冠名也是广一泵业有限公司,不再是广一集团广州市第一水泵厂
性能特点
采用加长轴电机,叶轮直接装在电机轴上,机电一体化,减小振动及运行噪声。
泵的进出口径相同,并在同一直线上,能象阀门一样安装在管路任何位置;且设有底板,使泵安装简单方便,稳固。
为提高轴承的使用寿命,电机轴承比同性能的电机轴承加大一挡。
电机轴承压盖处设置了加油孔,当轴承缺油,噪声增大,可向轴承加油。
典型用途
本型泵特别适用于空调、采暖、冷冻系统的液体循环和供水、增压。
型号意义
以100 GL -108 – 50为例
100:泵的进出水口DN100法兰
GL:立式单级泵
108:流量108m3/h
50:扬程50m
使用条件
输送介质为清水或物理化学性质类似清水的其他液体;
流量范围:2.5 m3/h ~ 360 m3/h;
扬程:≤140m;
介质温度:0℃ ~ 80℃ +105℃(配耐高温机械密封)
工作压力: 泵扬程100m以下≤ 1.6 MPa ; 泵扬程
110m-140m≤2.0MPa, 吸入口压力≥0.6Mpa需在订货合同上注明
电源:380V,50Hz
40口径以上水泵进出法兰执行PN16/GB/T17241.6法兰标准。
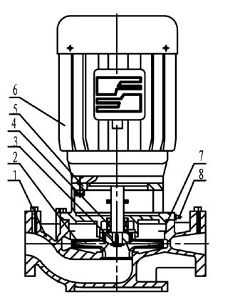
组成结构

序号名称
1 泵体
2 叶轮
3 螺栓
4 机械密封
5 泵盖
6 电动机
7 橡胶密封圈
8 放气螺栓
参数和尺寸
GL系列产品型号众多,参数和尺寸请下载数据手册查阅。
购买流程:
选型报价-确定型号-签订合同-支付定金-下单生产-检验出厂-支付余款-包装-配送
珠三角地区支持定金+到付,也可以第三方平台担保交易,如阿里巴巴或淘宝。
